El día de hoy han salido a la luz algunas patentes de Nintendo relacionadas al Nintendo Switch, y una de ellas habla de un Headset o Casco de Realidad Virtual para la Consola.
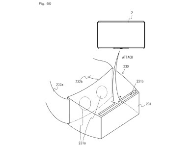
Este Casco de Realidad Virtual funcionaría de una forma similar a los Headsets de VR para Smartphones en el mercado, insertando el Nintendo Switch en la parte delantera y con ayuda de un par de lentes se lograría el efecto VR en la Consola.
Algunas características que menciona la patente son las siguientes:
- El Nintendo Switch se incrustaría en la parte delantera del Headset.
- Se habla del uso de los Joy-Con aunque no se menciona el uso de sensores de movimiento.
- Habla de sensores de aceleración y velocidad angular, aunque no necesariamente deberían estar dentro de la Consola, sino que podrían estar en el Headset.

Como todo registro de Patentes, esto no garantiza que tendremos este Producto en el mercado, aunque recordemos que Nintendo ha estado mencionando el VR como una opción a futuro para la compañía.
¿Creen que el Headset VR para el Nintendo Switch llegue algún día al mercado?
No olviden compartir, y dejar sus comentarios.